切换导航
银米商+
银米收银官网
银米公司官网
餐饮版
windows客户端
使用须知
客户端注册
收银登录
收银操作
接班操作
收银界面(餐饮版)
工具栏
点餐界面
桌台界面
会员界面
账单界面
管理界面
设置界面
后台管理
系统功能概述
使用须知
登录系统
后台首页
数据报表
销售排行
销售汇总
库存报表
分析决策
经营分析
毛利分析
会员分析
销售管理
订单
收款记录
门店订货
商品档案
商品资料
商品配置
商品加工
价签打印
运营管理
促销活动
商品销售类别
开台规则
价格管理
商品上架
营销活动
优惠券管理
会员营销
会员管理
会员中心
会员权益
采购管理
供应商
单据管理
库存管理
库存查询
入库
出库
盘点
财务管理
应付帐
预付款
应收账
预收款
收/付款
基础资料
店铺机构
商户信息
门店管理
员工管理
应用管理
扫码点餐
云店铺
系统设置
营业设置
操作日志
其它设置
应用设置
打印设置
商超零售版
windows客户端
使用须知
客户端注册
收银登录
收银操作
接班操作
收银界面(商超版)
工具栏
营业界面
扫码模式
触屏模式
会员界面
账单界面
管理界面
设置界面
后台管理
系统功能概述
使用须知
登录系统
后台首页
数据报表
销售排行
销售汇总
库存报表
分析决策
经营分析
毛利分析
会员分析
销售管理
订单
收款记录
商品档案
商品资料
商品配置
商品加工
运营管理
促销活动
商品销售类别
商品上架
营销活动
优惠券管理
会员营销
会员管理
会员中心
会员权益
采购管理
供应商
单据管理
库存管理
库存查询
入库
出库
盘点
财务管理
应付帐
预付款
应收账
预收款
收/付款
基础资料
店铺机构
商户信息
门店管理
员工管理
系统设置
营业设置
操作日志
其它设置
打印设置
搜索结果
没有相关内容~~
打印设置
最新修改于
2025-11-17 14:48
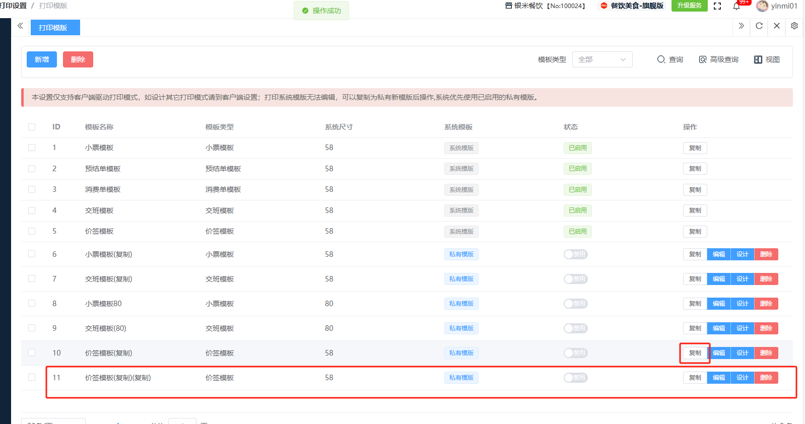
## 打印设置 打印设置是系统对各类业务单据打印规则进行集中配置的功能模块,用于统一输出格式并适配多硬件环境。包含:打印模板、云打印机。 如图所示  一、打印模板是系统预设的业务单据格式设计方案,通过可视化编辑实现各类凭证的标准化输出与个性化定制。包含:模板名称、模板类型、系统尺寸等。功能包含:新增、复制、编辑、设计、删除。 如图所示  1、点击“新增”、录入模板名称、选择纸张尺寸、选择模板类型、选择禁用或启用,点击“确认”即可完成新增。 如图所示  2、点击“复制”,即可生成一个相同的打印模板。如图所示  3、点击“编辑”可修改打印模板的所有内容,修改完成后点击“确认”即可完成。如图所示  4、点击“设计”即可进入进行打印模板设计页面。如图所示  5、点击”删除“,右侧为”行删除“,左上角为”列删除“。如图所示  二、云打印机是通过云端技术实现远程指令接收与打印任务管理的智能硬件设备,突破传统局域网打印的地理限制。包含:打印机编号、打印机名称、纸张、语音等。功能包含:新增、测试打印、编辑、删除。 如图所示  1、点击“新增”、录入打印机名称、打印机序号、选择打印机品牌、选择纸张,选择语音(来单播报或静音)、选择门店、选择打印类型(小票或厨打,可多选)、选择状态(正常或禁用)点击“提交”即可完成新增。 如图所示  2、点击”测试打印“即可测试打印机设置是否完成。如图所示  3、点击“编辑”可修改云打印机的所有内容,修改完成后点击“提交”即可完成。如图所示  4、点击”删除“,右侧为”行删除“,左上角为”列删除“。如图所示 
请输入访问密码
开始访问