切换导航
银米商+
银米收银官网
银米公司官网
餐饮版
windows客户端
使用须知
客户端注册
收银登录
收银操作
接班操作
收银界面(餐饮版)
工具栏
点餐界面
桌台界面
会员界面
账单界面
管理界面
设置界面
后台管理
系统功能概述
使用须知
登录系统
后台首页
数据报表
销售排行
销售汇总
库存报表
分析决策
经营分析
毛利分析
会员分析
销售管理
订单
收款记录
门店订货
商品档案
商品资料
商品配置
商品加工
价签打印
运营管理
促销活动
商品销售类别
开台规则
价格管理
商品上架
营销活动
优惠券管理
会员营销
会员管理
会员中心
会员权益
采购管理
供应商
单据管理
库存管理
库存查询
入库
出库
盘点
财务管理
应付帐
预付款
应收账
预收款
收/付款
基础资料
店铺机构
商户信息
门店管理
员工管理
应用管理
扫码点餐
云店铺
系统设置
营业设置
操作日志
其它设置
应用设置
打印设置
商超零售版
windows客户端
使用须知
客户端注册
收银登录
收银操作
接班操作
收银界面(商超版)
工具栏
营业界面
扫码模式
触屏模式
会员界面
账单界面
管理界面
设置界面
后台管理
系统功能概述
使用须知
登录系统
后台首页
数据报表
销售排行
销售汇总
库存报表
分析决策
经营分析
毛利分析
会员分析
销售管理
订单
收款记录
商品档案
商品资料
商品配置
商品加工
运营管理
促销活动
商品销售类别
商品上架
营销活动
优惠券管理
会员营销
会员管理
会员中心
会员权益
采购管理
供应商
单据管理
库存管理
库存查询
入库
出库
盘点
财务管理
应付帐
预付款
应收账
预收款
收/付款
基础资料
店铺机构
商户信息
门店管理
员工管理
系统设置
营业设置
操作日志
其它设置
打印设置
搜索结果
没有相关内容~~
库存查询
最新修改于
2025-11-19 10:55
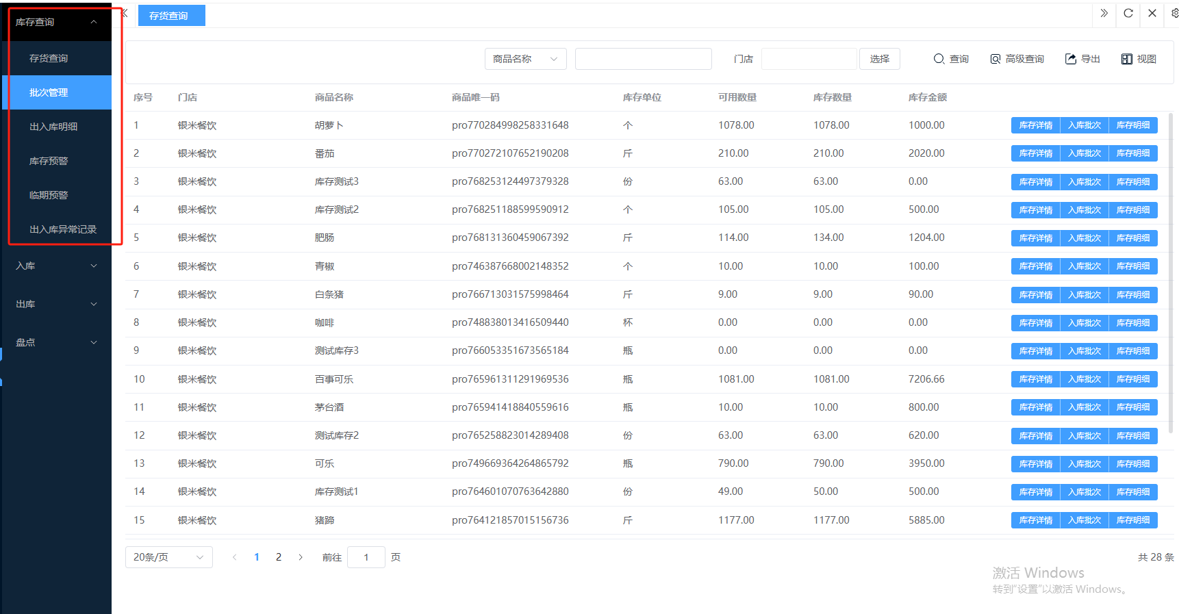
## 库存查询 库存查询是实时获取仓库或门店中商品库存数量、位置及状态信息的核心操作,是支撑采购、销售和决策的基础数据服务。包含:存货查询、批次管理、出入库明细、库存预警、临期预警、出入库异常记录。 如图所示  一、存货查询是企业存货资产的“财务仪表盘”,为成本核算、资产管理和经营决策提供精准的数据支撑。包含:门店、商品名称、商品唯一码、库存单位等 。功能包含:库存详情、入库批次、库存明细。 如图所示  1、点击“库存详情”、可查看规格、剩余库存、可用数量。如图所示  2、点击“入库批次”可查看规格、来源单号、入库数量、库存金额、发生时间。如图所示  3、点击“库存明细”可查看规格、变化数量、库存余数、变化库存金额等。如图所示  二、批次管理是为区分不同批次入库的物料,赋予其唯一身份标识,并基于此进行全流程精准追踪与差异化控制的方法。包含:门店、入库时间、商品名称、商品规格、批次号等。功能包含:启用和禁用。 如图所示  三、出入库明细是记录每一笔库存变动(收入、发出)的原始凭证流水,构成库存台账的核心数据基础。可查看:库存流水(商品总的出入库明细)、批次流水(商品每个批次的出入库明细)。包含:发生时间、批次号(点击进入批次管理详情)、门店、商品名称、商品规格等。 如图所示  四、库存预警是通过预设库存阈值,对库存状态进行实时监控,并在异常时主动发出提醒的风险管控机制。包含:门店、商品名称、商品唯一码、库存单位、预警类型、库存数量、预警数量。 如图所示  五、临期预警是针对有明确有效期(保质期)的商品,在过期前预设时间进行自动监控和提醒的库存管理机制。包含:门店、商品名称、商品规格、库存数量、库存单位、批号、生产日期、过期时间、保质期、预警天数。 如图所示  六、出入库异常记录是系统对库存收发过程中发生的与预期不符情况(如数量差异、质量不符、单据错误等)的标准化记载与追踪凭证。包含:单据编号(点击进入收银订单详情)、异常类型、异常场景、发生门店、异常信息、发生时间。 如图所示 
请输入访问密码
开始访问