切换导航
银米商+
银米收银官网
银米公司官网
餐饮版
windows客户端
使用须知
客户端注册
收银登录
收银操作
接班操作
收银界面(餐饮版)
工具栏
点餐界面
桌台界面
会员界面
账单界面
管理界面
设置界面
后台管理
系统功能概述
使用须知
登录系统
后台首页
数据报表
销售排行
销售汇总
库存报表
分析决策
经营分析
毛利分析
会员分析
销售管理
订单
收款记录
门店订货
商品档案
商品资料
商品配置
商品加工
价签打印
运营管理
促销活动
商品销售类别
开台规则
价格管理
商品上架
营销活动
优惠券管理
会员营销
会员管理
会员中心
会员权益
采购管理
供应商
单据管理
库存管理
库存查询
入库
出库
盘点
财务管理
应付帐
预付款
应收账
预收款
收/付款
基础资料
店铺机构
商户信息
门店管理
员工管理
应用管理
扫码点餐
云店铺
系统设置
营业设置
操作日志
其它设置
应用设置
打印设置
商超零售版
windows客户端
使用须知
客户端注册
收银登录
收银操作
接班操作
收银界面(商超版)
工具栏
营业界面
扫码模式
触屏模式
会员界面
账单界面
管理界面
设置界面
后台管理
系统功能概述
使用须知
登录系统
后台首页
数据报表
销售排行
销售汇总
库存报表
分析决策
经营分析
毛利分析
会员分析
销售管理
订单
收款记录
商品档案
商品资料
商品配置
商品加工
运营管理
促销活动
商品销售类别
商品上架
营销活动
优惠券管理
会员营销
会员管理
会员中心
会员权益
采购管理
供应商
单据管理
库存管理
库存查询
入库
出库
盘点
财务管理
应付帐
预付款
应收账
预收款
收/付款
基础资料
店铺机构
商户信息
门店管理
员工管理
系统设置
营业设置
操作日志
其它设置
打印设置
搜索结果
没有相关内容~~
销售管理
最新修改于
2025-10-15 11:28
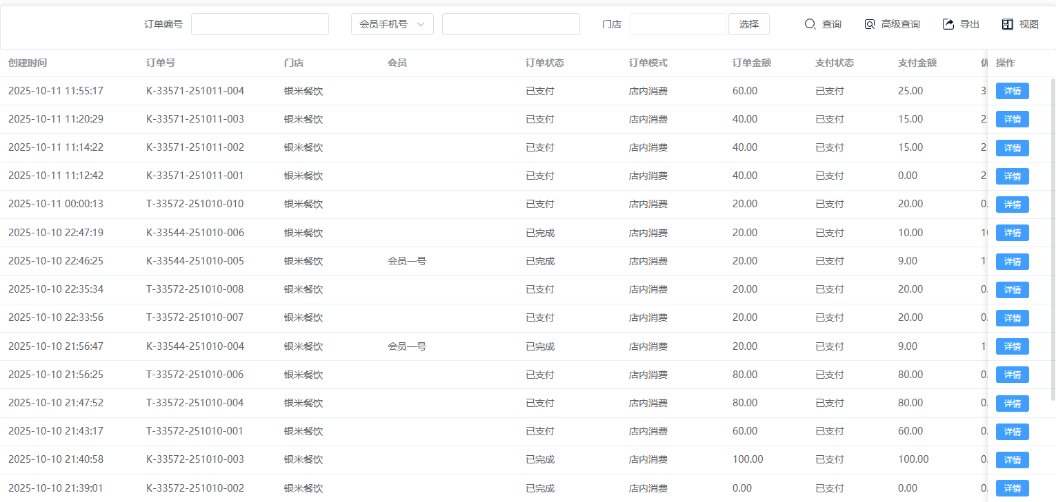
## 销售管理 销售管理是通过一系列计划、组织、指挥、协调与控制活动,有效整合人员、流程和数据,以达成甚至超越企业销售目标的系统性工程。包含:订单、收款记录、门店订货。功能包含:查询、高级查询、导出、视图。 如图所示  1、可按订单编号、会员手机或者门店查询。如图所示  2、可点击”高级查询“,输入订单编号、会员手机号 、门店等,点击查询即可。如图所示  3、导出是将数据(如报表、列表)转换为可在电脑上独立存储、编辑和分享的文件。点击”导出“,再点击”创建导出任务“,查看详情,下载表格。无需导出点击”删除“即可。 如图所示  4、视图是允许用户根据不同角色和场景,自定义屏幕上显示哪些信息、以何种方式布局,从而实现个性化、高效的操作界面。如图所示 
请输入访问密码
开始访问