切换导航
银米商+
银米收银官网
银米公司官网
餐饮版
windows客户端
使用须知
客户端注册
收银登录
收银操作
接班操作
收银界面(餐饮版)
工具栏
点餐界面
桌台界面
会员界面
账单界面
管理界面
设置界面
后台管理
系统功能概述
使用须知
登录系统
后台首页
数据报表
销售排行
销售汇总
库存报表
分析决策
经营分析
毛利分析
会员分析
销售管理
订单
收款记录
门店订货
商品档案
商品资料
商品配置
商品加工
价签打印
运营管理
促销活动
商品销售类别
开台规则
价格管理
商品上架
营销活动
优惠券管理
会员营销
会员管理
会员中心
会员权益
采购管理
供应商
单据管理
库存管理
库存查询
入库
出库
盘点
财务管理
应付帐
预付款
应收账
预收款
收/付款
基础资料
店铺机构
商户信息
门店管理
员工管理
应用管理
扫码点餐
云店铺
系统设置
营业设置
操作日志
其它设置
应用设置
打印设置
商超零售版
windows客户端
使用须知
客户端注册
收银登录
收银操作
接班操作
收银界面(商超版)
工具栏
营业界面
扫码模式
触屏模式
会员界面
账单界面
管理界面
设置界面
后台管理
系统功能概述
使用须知
登录系统
后台首页
数据报表
销售排行
销售汇总
库存报表
分析决策
经营分析
毛利分析
会员分析
销售管理
订单
收款记录
商品档案
商品资料
商品配置
商品加工
运营管理
促销活动
商品销售类别
商品上架
营销活动
优惠券管理
会员营销
会员管理
会员中心
会员权益
采购管理
供应商
单据管理
库存管理
库存查询
入库
出库
盘点
财务管理
应付帐
预付款
应收账
预收款
收/付款
基础资料
店铺机构
商户信息
门店管理
员工管理
系统设置
营业设置
操作日志
其它设置
打印设置
搜索结果
没有相关内容~~
应收账
最新修改于
2025-10-31 17:33
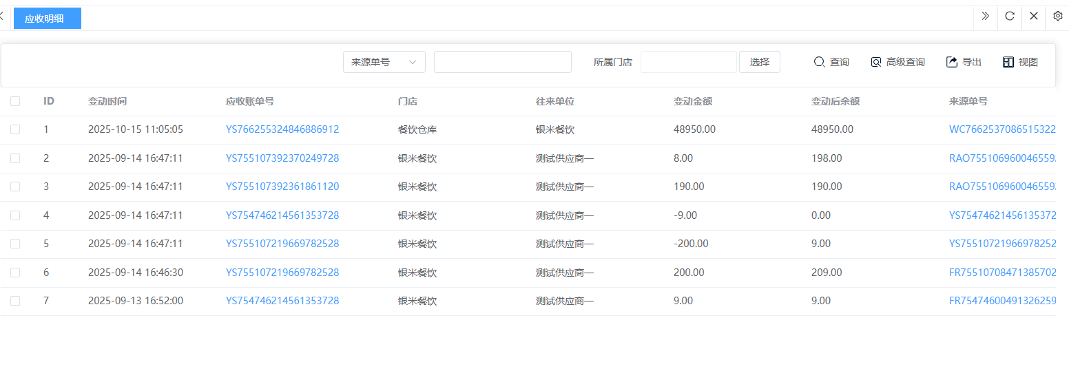
## 应收账 应收账款是企业因销售商品、提供劳务等经营活动,应向购货单位或接受服务单位收取的款项。包含:应收总帐、应收账单、应收明细、收入单、坏账单、收入项目。  一、应收总账是财务会计系统中,用于汇总反映企业对所有客户应收账款总括情况的统驭性账户。可选择门店查看。包含:门店、往来单位、联系人、往来单位类型、应付总额。 如图所示  二、应收账单是企业向客户发出的、要求其在约定日期前支付款项的正式收款通知凭证,是应收账款确认的法律依据。包含:应付账单号、门店、往来单位、应收金额、来源单号(点击进入门店结算)、收款单号、状态等。 如图所示  三、应收明细是企业财务管理中,按客户或个人明细对象建立的应收账款辅助核算账,详细记录与每个债务方的账款往来情况。包含:变动时间、应收账单号、门店、往来单位、变动金额、变动后金额、来源单号(点击进入门店结算)等。 如图所示  四、收入单是企业用于确认和记录收入业务的内部凭证,是财务记账和业务追溯的原始依据。包含:单据编号、门店、往来单位等。功能包含:新增、查看、编辑、审核、删除、详情。 如图所示  1、点击“新增”、录入所有相关内容,点击“保存 ”即可完成新增。如图所示  A、选择应收门店、往来单位、经办人。如图所示  B、设置约定收款日期。如图所示  C、填写联系人、联系方式。如图所示  D、点击“选择应收项目”,选择项目,需要输入单价和数量。点击“X”可删除项目。如图所示  2、点击“查看”或者“单据编号”可查看应收单的详情。如图所示  3、点击“编辑”可修改应收单的所有内容,修改完成后点击“保存”即可完成,然后点击”提交审核“。如图所示  4、点击“审核“,选择”通过“或者”拒绝“,即可完成审核。如图所示  5、点击”删除“,右侧为”行删除“,左上角为”列删除“。如图所示  6、点击“详情”,便于查看门店的项目明细。如图所示  五、坏账单是企业对确实无法收回的应收账款进行核销确认的会计凭证,标志着该笔债权被正式认定为损失。包含:单据编号、门店、注销总额等。功能包含:新增、查看、编辑、审核、删除、详情。 如图所示  1、点击“新增”、录入所有相关内容,点击“保存 ”即可完成新增。如图所示  A、选择门店、经办人。如图所示  B、点击“选择应付账单”,选择坏账单。点击“X”可删除账单。如图所示  2、点击“查看”或者“单据编号”可查看坏账单的详情。如图所示  3、点击“编辑”可修改坏账单的所有内容,修改完成后点击“保存”即可完成,然后点击”提交审核“。如图所示  4、点击“审核“,选择”通过“或者”拒绝“,即可完成审核。如图所示  5、点击”删除“,右侧为”行删除“,左上角为”列删除“。如图所示  6、点击“详情”,便于查看门店的坏账单明细。如图所示  六、收入项目是企业对营业收入进行的标准化分类体系,用于精准核算收入来源、支持财务分析和预算管理。 包含:项目名称、所属门店、状态、备注、创建时间。功能包含:新增、编辑、禁用、删除。 如图所示  1、点击“新增”,录入项目名称、选择所属门店(不限制即为所有门店适用)、备注。点击“保存”即可完成新增。 如图所示  2、点击“编辑”可修改收入项目的所有内容,修改完成后点击“保存”即可完成。如图所示  3、点击“禁用”可修改状态为“禁用”或者“启用”。如图所示  4、点击”删除“,右侧为”行删除“,左上角为”列删除“。如图所示 
请输入访问密码
开始访问